發布時間:2021-12-07 18:39:21 作者:顯揚科技
一、關節坐標系
艾利特EC63機器人沿各軸軸線進行單獨動作,所使?的坐標系成為關節坐標系。關節坐標系在機器人調試完成后就設定完成,不可更改。
二、直?坐標系
艾利特EC63機器人直?坐標系也叫大地坐標系。每種機器人類型對應的直?坐標系?向不同,對應的直?坐標原點位置也不同。
機器人相關參數設定完成后,則直?坐標的零點和?向就確定,直?坐標系的?向不能進行修改。
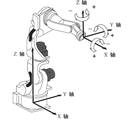
機器人處于非奇異點位置時,均可沿設定的X軸、Y軸、Z軸平?移動。對于六軸機器人,還可執?Rx、Ry、Rz旋轉,Rx繞X軸旋轉,Ry繞Y軸旋轉,Rz繞Z軸旋轉,遵從右?螺旋法則。以六軸機器人為例,各運動?向如下圖所示。

三、?具坐標系
工具坐標系把機器人腕部法蘭盤所持?具的有效?向作為Z軸,并把坐標定義在工具的尖端點。
工具坐標的運動不受機器人位置或姿勢的變化影響,主要以工具的有效?向為基準進?運動。所以,工具坐標運動最適合在?具姿勢始終與?件保持不變、平?移動的應?中使?。
?戶可根據實際工具情況進?設定工具坐標系0-7號。

四、用戶坐標系
?戶坐標系是以操作艾利特EC63機器人示教三個點來定義的,機器人沿所指定的?戶坐標系各軸平行移動。

?戶可根據需要,設定?戶坐標系0-7號。

五、圓柱坐標系
在圓柱坐標系,艾利特EC63機器人以本體Z軸為中?旋轉運動,或與Z軸成直?平?運動。圓柱坐標系的θ軸、R軸、Z軸?向如下圖所示。

六、控制點保持不變的操作
控制點保持不變的操作是指不改變?具尖端點的位置(控制點),只改變工具姿勢的軸操作。除關節坐標以外的坐標系均可進行該操作。
在控制點不變的操作中,由于選擇不同的坐標系,所以各手腕的回轉也各異。
在直?/圓柱坐標系中,以本體軸的X、Y、Z為基準,作回轉運動。

在工具坐標系中,以?具坐標的X、Y、Z軸為基準,做回轉運動。

在?戶坐標系中,以?戶坐標系的X、Y、Z為基準作回轉運動。

顯揚科技專注研發并產業化高速高清三維機器視覺設備、智能協作機器人系統。顯揚科技創建了一個集高精度視覺傳感器、智能協作機器人、智能感知與控制系統平臺,讓機器人更加智能、可靠,適用于更多復雜的應用場景。顯揚科技研發的三維機器視覺設備精度能達亞微米級,三維數據采集幀率高達300幀,具有高精度、大景深、高穩定性的優勢,已在多個領域成功替代進口同類產品。目前,顯揚科技產品已成功應用于食品、電器、陶瓷、物流、教育科技、新零售等行業。
顯揚(深圳)
深圳市福田保稅區英達利科技數碼園B棟205號
顯揚(佛山)
佛山市南海區獅山鎮廣工大數控裝備協同創新研究院A座507
顯揚(蘇州)
張家港市塘橋鎮張家港節能環保創新園A區E幢6樓
微信公眾號
合作咨詢
電話:0755-83215213
聯系人:18670025215
郵箱:jim@hinyeung.com